How to Pin and Depin A Subaru Connector
- Brian Keene
- Aug 2, 2018
- 2 min read
Updated: Oct 7, 2021
This DIY guide explains the basics of how to pin and depin a Subaru connector. Some plugs can become brittle or terminals corroded so make sure to replace any damaged parts in the process of swapping out plugs.
If you're a visual learner we have a video showing how to depin plugs.
If you prefer to learn with diagrams and step-by-step pictures see below. This demonstrates how to wire a 2.0 WRX Subaru ECU Plug but the process is similar for most plugs. The only main difference will be where the lock is located on your plug.
How to Insert a Subaru Terminal
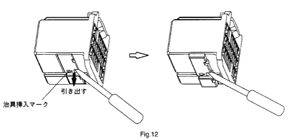
1. Before the pins can be inserted, the lock tab must be released to allow the pin to be installed. To do this use a small pick and lift the tab on the underside of the ECU plug as shown in the diagram and picture below. For other plugs, the lock can be pulled out from the front of the plug. Front facing locks typically come all the way out while ECU lock tab will not come all the way out.

2. Install pins as shown below. Make sure to insert the terminals in the correct order. Each pin will just slide into the housing once the lock tab is released. There will be a small click once the terminal is locked. Test the seating by gently pulling on the wire. If it stays in the plug, you are good to go.

3. Once all the pins are installed, push the locking tab back into place.

How to Remove a Subaru Terminal
1. Use a small pick tool (like the one pictured below) to gently lift the locking tab on the terminal for it to slide out of the back of the housing. If the terminal does not come out easily, the tab is not lifted. Do not pull hard on the wire!!






Comments